電磁高頻振動細篩分級試驗部分
作者:宏源科技 日期:2014-08-08
試驗原料
試驗所用煤樣為官地選煤廠精煤磁尾,按照 《煤樣的制備方法》 ( GB 474—1996) 的要求制成 試驗用煤樣。為了考察煤樣各粒度級的產率和灰 分,根據中華人民共和國煤炭行業標準 《煤粉篩分試驗方法》 ( MT/T 58—1993) ,采用振動篩篩孔為 0. 5、0. 25、0. 125、0. 074、0. 045 mm 的標準套篩對該煤樣進行了粒度分析,結果見表 1
由表 1 可見,該煤樣中 < 0. 075 mm 粒級的顆 粒占 31. 60%,灰分高達 39. 36%,比 >0. 075 mm 粒級的顆粒灰分高 25. 88 個百分點。這表明煤樣中細粒級多為高灰細泥,脫除這部分細泥不僅可以有 效提升精煤產品的質量,且可消除這部分細泥對后 序生產過程中分級過濾脫水的不利影響。
試驗裝置
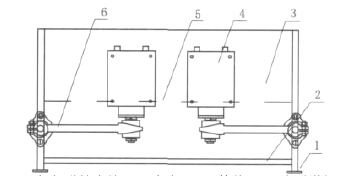
試驗采用電磁高頻振動篩脫泥,試驗裝置如圖 1 所示。
試驗所用煤樣為官地選煤廠精煤磁尾,按照 《煤樣的制備方法》 ( GB 474—1996) 的要求制成 試驗用煤樣。為了考察煤樣各粒度級的產率和灰 分,根據中華人民共和國煤炭行業標準 《煤粉篩分試驗方法》 ( MT/T 58—1993) ,采用振動篩篩孔為 0. 5、0. 25、0. 125、0. 074、0. 045 mm 的標準套篩對該煤樣進行了粒度分析,結果見表 1

試驗裝置
試驗采用電磁高頻振動篩脫泥,試驗裝置如圖 1 所示。

圖 1 電磁高頻細篩試驗裝置圖
試驗內容及評定指標
試驗內容
該研究主要考察電磁高頻細篩試驗裝置對試煤樣的分級性能,試驗內容如下: 在不同濃度條件下進行試驗,以分級效率和篩上產品灰分為考察指標,確定礦漿濃度; 考察振動 時間對篩分分級效果的影響,確定試驗的工藝條 件; 考察振動篩篩孔大小、噴水量等對振動篩篩分分級效果的影 響,以期得到最佳的分級效率。
評定指標
在實際生產中,由于篩孔的結構以及孔的變 形、擴大或磨損使有的篩孔比分級粒度大很多倍, 篩下物中不可避免地存在 “超粒”物料,為此原 煤炭部頒布了以總分級效率計算所有振動篩分設備的篩分效率。
本試驗采用總分級效率來評價分級效果的好 壞,同時考慮全部分級產品的正配率,以綜合評價分 級設備的效果。總分級效率 η 總 計算公式如下: η 總 = ( α - θ) ( β - α) α( β - θ) ( 100 - α) × 100% , 式中: α 為入料中小于規定粒度的細粒含量; β 為篩 下產品中小于規定粒度的細粒含量; θ 為振動篩篩上產品 中小于規定粒度的細粒含量 [12] 。 以粗粒級分配率為 50% 時對應的粒度作為分 級粒度,然后根據公式求得對應的 η 50 作為對應的 總分級效率。
試驗內容
該研究主要考察電磁高頻細篩試驗裝置對試煤樣的分級性能,試驗內容如下: 在不同濃度條件下進行試驗,以分級效率和篩上產品灰分為考察指標,確定礦漿濃度; 考察振動 時間對篩分分級效果的影響,確定試驗的工藝條 件; 考察振動篩篩孔大小、噴水量等對振動篩篩分分級效果的影 響,以期得到最佳的分級效率。
評定指標
在實際生產中,由于篩孔的結構以及孔的變 形、擴大或磨損使有的篩孔比分級粒度大很多倍, 篩下物中不可避免地存在 “超粒”物料,為此原 煤炭部頒布了以總分級效率計算所有振動篩分設備的篩分效率。
本試驗采用總分級效率來評價分級效果的好 壞,同時考慮全部分級產品的正配率,以綜合評價分 級設備的效果。總分級效率 η 總 計算公式如下: η 總 = ( α - θ) ( β - α) α( β - θ) ( 100 - α) × 100% , 式中: α 為入料中小于規定粒度的細粒含量; β 為篩 下產品中小于規定粒度的細粒含量; θ 為振動篩篩上產品 中小于規定粒度的細粒含量 [12] 。 以粗粒級分配率為 50% 時對應的粒度作為分 級粒度,然后根據公式求得對應的 η 50 作為對應的 總分級效率。
本文關鍵詞:










