KZS系列礦用振動篩
KZS系列礦用振動篩產品概述
KZS系列礦用振動篩采用振動電機激振、橡膠彈簧減振以及先進的自同步振動原理,具有壽命長、噪音低、篩分效率高、體積小、重量輕、耗能少、結構簡單、造型美觀等特點,適用于燒結礦、自然礦、焦炭及其它顆粒物料的高能篩分。
Product overview
KZS series mining vibrating screen uses the vibration motor excitation, rubber spring damping, and advanced the synchronous vibration principle, has a long service life, low noise, high screening efficiency, small volume, light weight, less energy consumption, characteristics such as simple structure, beautiful modelling, suitable for sinter, natural ore, coke and other high-energy screening of granular materials.

KZS系列礦用振動篩使用范圍
KZS系列礦用振動篩廣泛應用于礦山、煤炭、冶金、建材、耐火材料、輕工、糧食等各行業對大塊物料及中、小顆粒物料的分級作業。
Applications
KZS series mining vibrating screen is widely used in mining, coal, metallurgy, building materials, refractory materials, light industry, food and other industries, small particles in the bulk material and material classification work.
KZS系列礦用振動篩型號含義
Types of meaning
2 KZS P □ □
┬ ┬ ┬ ┬ ┬
│ │ │ │ │
│ │ │ │ └────────── 篩面長度dm
│ │ │ └───────────- 篩面寬度dm
│ │ └───────────── 普通電機
│ └──────────────- 礦用振動篩
└──────────────── 雙層篩面(單層不寫)
KZS系列礦用振動篩技術參數表
Parameters| 型號 | 篩分能力 | 振幅 mm | 篩面傾角 。 | 電機型號 |
外形尺寸 (長×寬×高)mm |
|
| 入料粒度 mm | 生產能力t/h | |||||
| 2KZS6-15 | ≤30 | 8 | 5—7 | 0°-15° | YZS10-6 | 2035×1070×1430 |
| 2KZS9-18 | ≤50 | 15 | 5—7 | 0°-15° | YZS20-6 | 2200×1420×1660 |
| 2KZS12-24 | ≤100 | 20 | 5—7 | 0°-15° | YZS30-6 | 2793×1800×1860 |
| 2KZS12-30 | ≤120 | 25 | 5—7 | 0°-15° | YZS50-6 | 3250×1800×2290 |
| 2KZS15-30 | ≤150 | 35 | 5—7 | 0°-15° | YZS75-6 | 3400×2220×2220 |
| 2KZS15-36 | ≤150 | 50 | 5—7 | 0°-15° | YZS75-6 | 4050×2160×2210 |
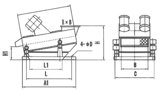
KZS系列礦用振動篩外形尺寸表
Overall dimensions| 型號 | A | A1 | B | C | L | L1 | H | H1 | E | φD | a° |
| 2KZS6-15 | 1500 | 1500 | 600 | 1040 | 1300 | 1050 | 1130 | 200 | 450 | 17 | 7° |
| 2KZS9-18 | 1800 | 1900 | 900 | 1384 | 1600 | 1100 | 1340 | 230 | 600 | 17 | 10° |
| 2KZS12-24 | 2400 | 2300 | 1200 | 1756 | 2100 | 1500 | 1550 | 400 | 800 | 21 | 10° |
| 2KZS12-30 | 3000 | 2890 | 1200 | 1756 | 2690 | 1200 | 2040 | 480 | 800 | 21 | 15° |
| 2KZS15-30 | 3000 | 2890 | 1500 | 2160 | 2540 | 1650 | 1820 | 400 | 900 | 25 | 10° |
| 2KZS15-36 | 3600 | 3200 | 1500 | 2160 | 2700 | 2420 | 1930 | 290 | 1000 | 25 | 10° |
訂貨說明:
選型及定貨時應注明篩網層數、篩面傾角、篩網結構(棒條、編織、沖孔)、網孔規格、處理量、物料名稱、入料粒度、出口方向、材質、電機側裝或上裝等,我公司可根據客戶要求定做各種型號的礦用振動篩。
Order details:
Selection and order should indicate the layer number of screen mesh, screen mesh sieve surface inclination Angle, structure (bar, weaving, punching), mesh size, capacity, material name, the grain-size, export orientation, material qualitative, motor side or tops, etc., our company can be customized of various types mining vibrating screen according to customer requirements













